| 索引号: | /202506-00215 | 信息分类: | 市场监管、安全生产监管 |
|---|---|---|---|
| 内容分类: | 食品生产经营监督检查 | 发文日期: | 2025-06-30 15:42:25 |
| 发布机构: | 漫水河镇 | 生成日期: | 2025-06-30 15:42:25 |
| 来源单位: | 霍山县漫水河镇 | ||
| 生效时间: | 废止时间: | ||
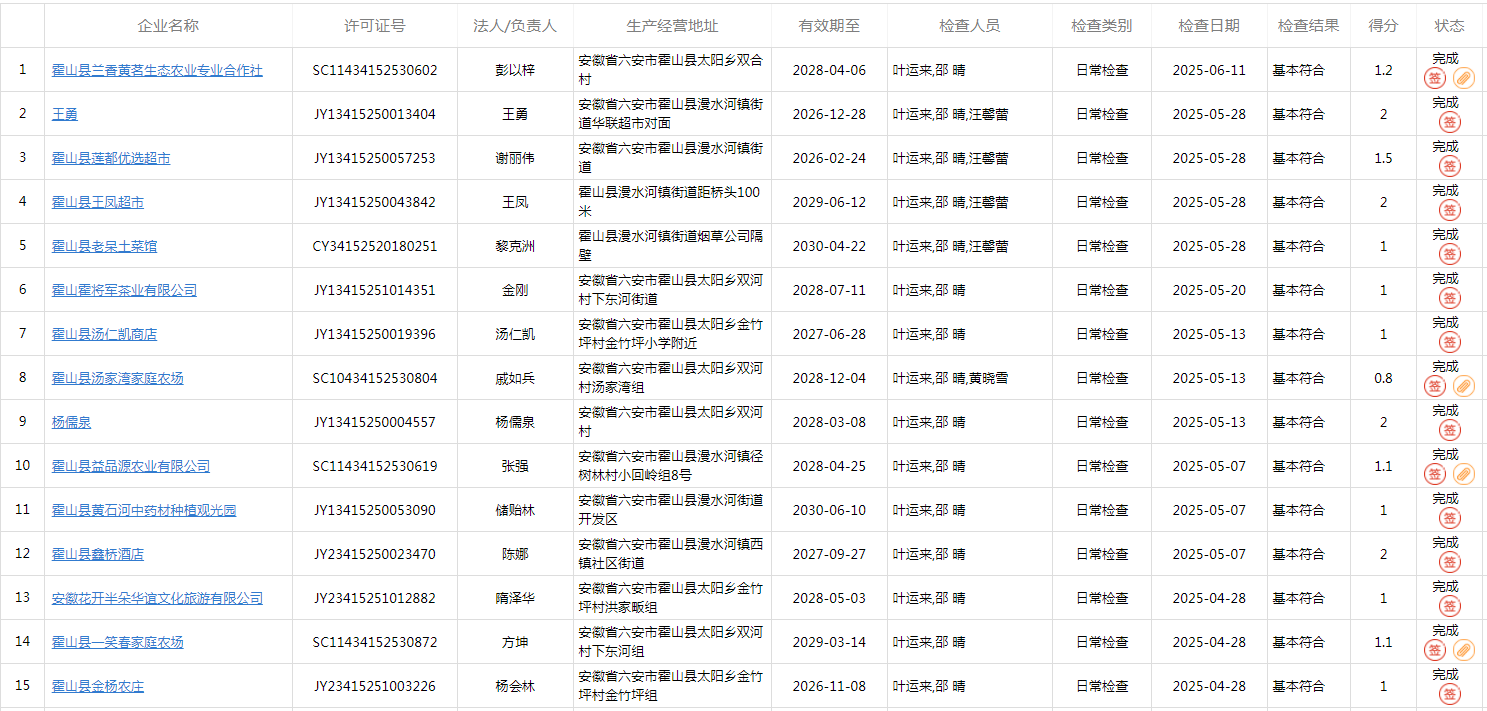
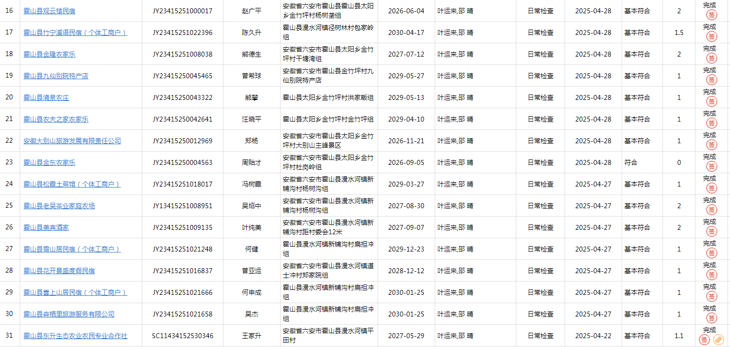
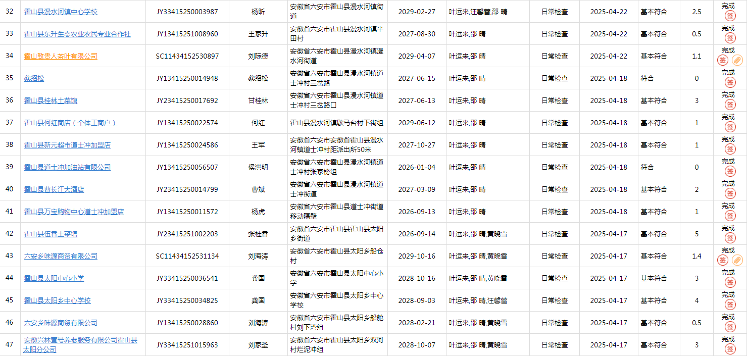
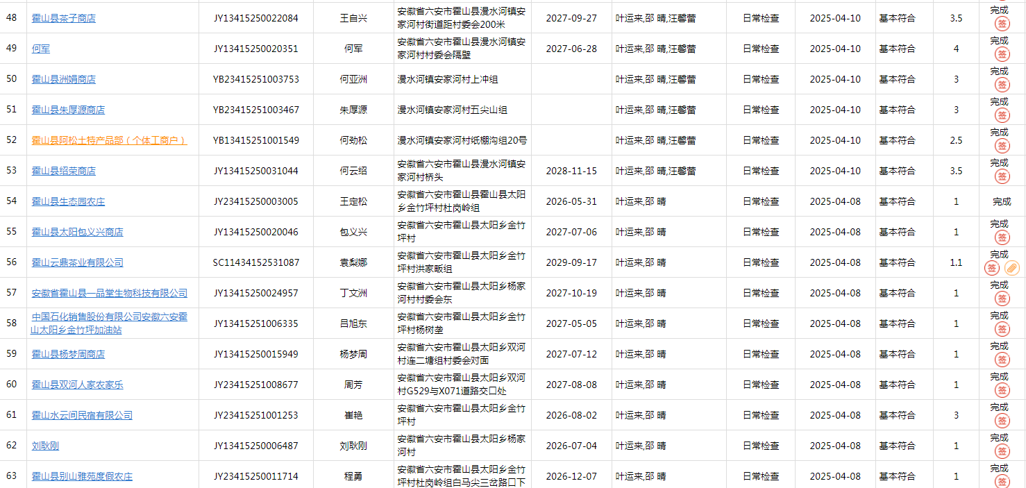
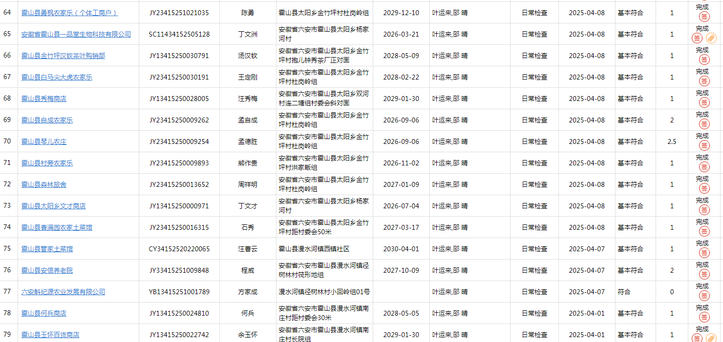
| 名 称: | 漫水河镇市场监督管理所2025年第二季度食品生产经营监督检查工作情况公示 | ||
| 文 号: | 关键词: | ||
| 索引号: | /202506-00215 |
|---|---|
| 信息分类: | 市场监管、安全生产监管 |
| 内容分类: | 食品生产经营监督检查 |
| 发文日期: | 2025-06-30 15:42:25 |
| 发布机构: | 漫水河镇 |
| 生成日期: | 2025-06-30 15:42:25 |
| 来源单位: | 霍山县漫水河镇 |
| 生效时间: | |
| 废止时间: | |
| 名 称: | 漫水河镇市场监督管理所2025年第二季度食品生产经营监督检查工作情况公示 |
| 文 号: | |
| 关键词: |






版权所有:霍山县人民政府办公室主办:霍山县人民政府办公室网站地图
承办:霍山县数据资源管理局电话:0564-5031012霍山县融媒体中心电话:0564-5022348地址:政务新区行政中心综合楼6楼
邮编:237200E-mail:hsdzzwzx@163.com隐私保护互联网违法和不良信息举报电话:0564-5025409邮箱:ahhsxwxb@163.com
皖ICP备11014808号-3
皖公网安备 34152502000002号
网站标识码:3415250062
