| 索引号: | /202406-00071 | 信息分类: | 综合政务,市场监管、安全生产监管 |
|---|---|---|---|
| 内容分类: | 食品生产经营监督检查 | 发文日期: | 2024-07-02 09:07:23 |
| 发布机构: | 磨子潭镇 | 生成日期: | 2024-07-02 09:07:23 |
| 来源单位: | 霍山县磨子潭镇 | ||
| 生效时间: | 废止时间: | ||
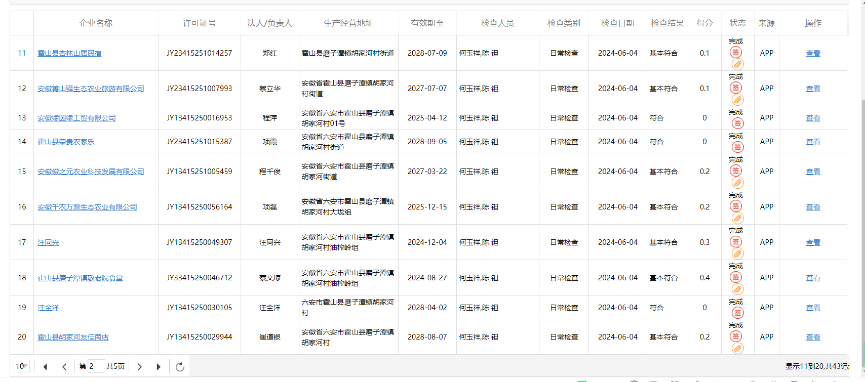
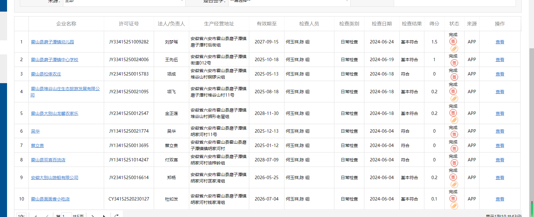
| 名 称: | 磨子潭镇市监所2024年第二季度食品生产经营监督检查工作情况公示 | ||
| 文 号: | 关键词: | ||
| 索引号: | /202406-00071 |
|---|---|
| 信息分类: | 综合政务,市场监管、安全生产监管 |
| 内容分类: | 食品生产经营监督检查 |
| 发文日期: | 2024-07-02 09:07:23 |
| 发布机构: | 磨子潭镇 |
| 生成日期: | 2024-07-02 09:07:23 |
| 来源单位: | 霍山县磨子潭镇 |
| 生效时间: | |
| 废止时间: | |
| 名 称: | 磨子潭镇市监所2024年第二季度食品生产经营监督检查工作情况公示 |
| 文 号: | |
| 关键词: |


版权所有:霍山县人民政府办公室主办:霍山县人民政府办公室网站地图
承办:霍山县数据资源管理局电话:0564-5031012霍山县融媒体中心电话:0564-5022348地址:政务新区行政中心综合楼6楼
邮编:237200E-mail:hsdzzwzx@163.com隐私保护互联网违法和不良信息举报电话:0564-5025409邮箱:ahhsxwxb@163.com
皖ICP备11014808号-3
皖公网安备 34152502000002号
网站标识码:3415250062
