索引号: | /202509-00027 | 信息分类: | 市场监管、安全生产监管,公告 |
---|---|---|---|
内容分类: | 食品生产经营监督检查 | 发文日期: | 2025-09-30 11:20:21 |
发布机构: | 大化坪镇 | 生成日期: | 2025-09-30 11:20:21 |
来源单位: | 霍山县大化坪镇 | ||
生效时间: | 废止时间: | ||
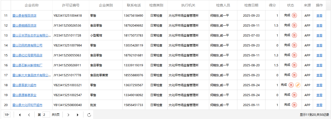
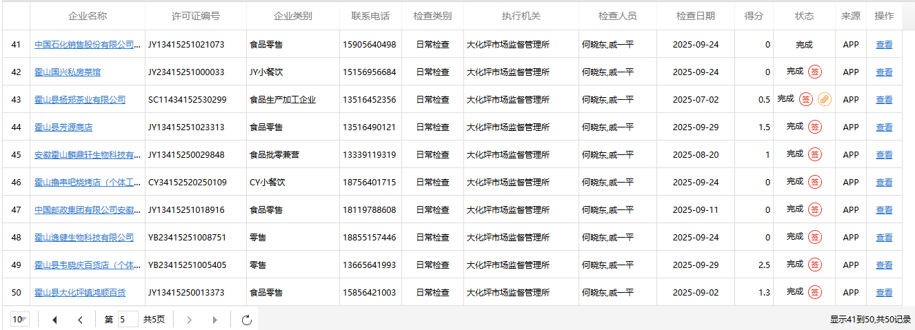
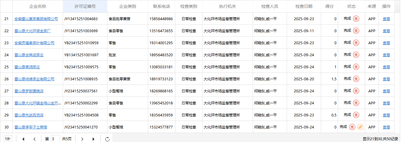
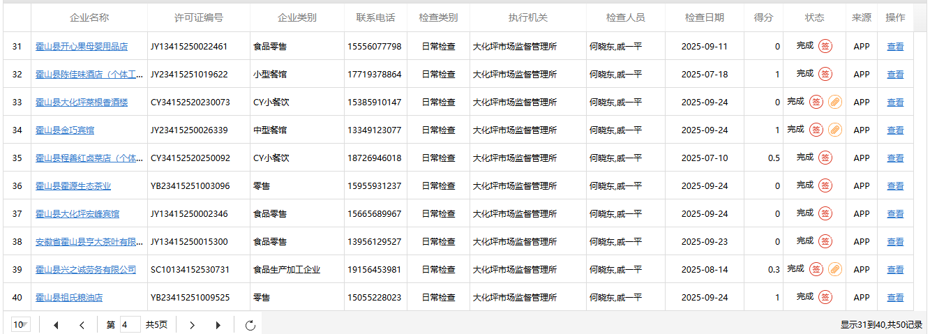
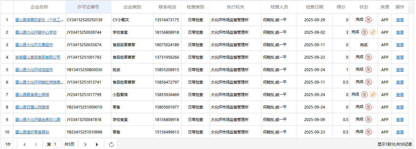
名 称: | 大化坪镇市场监督管理所2025年第三季度食品生产经营监督检查工作情况公示 | ||
文 号: | 关键词: |
索引号: | /202509-00027 |
---|---|
信息分类: | 市场监管、安全生产监管,公告 |
内容分类: | 食品生产经营监督检查 |
发文日期: | 2025-09-30 11:20:21 |
发布机构: | 大化坪镇 |
生成日期: | 2025-09-30 11:20:21 |
来源单位: | 霍山县大化坪镇 |
生效时间: | |
废止时间: | |
名 称: | 大化坪镇市场监督管理所2025年第三季度食品生产经营监督检查工作情况公示 |
文 号: | |
关键词: |
版权所有:霍山县人民政府办公室主办:霍山县人民政府办公室网站地图
承办:霍山县数据资源管理局电话:0564-5031012霍山县融媒体中心电话:0564-5022348地址:政务新区行政中心综合楼6楼
邮编:237200E-mail:hsdzzwzx@163.com隐私保护互联网违法和不良信息举报电话:0564-5025409邮箱:ahhsxwxb@163.com
皖ICP备11014808号-3
皖公网安备 34152502000002号
网站标识码:3415250062